КОЛИ ЗАБУВАЮТЬ ПРО ПРАВИЛА
Бабич П.М. – експерт технічний ТОВ НВФ «Кранспецсервіс», м. ЧернігівСухоруков О.В. – начальник відділу нагляду у будівництві, котлонагляді, на транспорті та зв’язку управління Держпраці у Чернігівській області
Трапляються випадки, коли обладнання, яке не відповідає вимогам нормативно-правових актів з охорони праці (НПАОП), тривалий час працює, але треба мати на увазі, що така невідповідність, рано чи пізно, може призвести до нещасного випадку.
На картоплесортувальному пункті у с. Шибиринівка Чернігівського району стався нещасний випадок: робітник, який підіймав фрамугу (браму) за допомогою підйомного механізму з ручним приводом, отримав важку травму голови. Фрамуга розміром 2,65м х 6,0м закривала отвір у стіні, куди під’їзджали автосамоскиди з картоплею до забірного конвеєру картоплесортувального пункту. У якості зупинки механізма і фіксації вантажу у верхньому положенні був використаний стопорний пристрій, який показано на фото. Недоліком такої фіксації є те, що у верхньому горизонтальному положенні фрамуги, де є максимальне зусилля на ручку ричага, робітнику треба однією рукою тримати рукоятку, а другою рукою висувати стопор. У цьому випадку є вірогідність не втримати однією рукою рукоятку, що і трапилось. Ручка рукоятки вислизнула з руки робітника і, під дією вантажу фрамуги, почала швидко розкручуватись у зворотньому напрямі. Удар ручки прийшовся у голову робітника, що призвело до тяжких наслідків – відкритої черепно-мозкової травми.Тільки після прикрого випадку всім (обслуговуючому персоналу, відповідальним особам із числа інженерно-технічних працівників) стало зрозуміло, що повинен бути інший гальмівний пристрій, який би автоматично зупиняв механізм підйому у будь-якому положенні фрамуги при відсутності зусилля на рукоятку. Згідно вимог діючих «Правил будови і безпечної експлуатації вантажопідіймальних кранів» НПАОП 0.00-1.01-07, які поширюються і на лебідки для підіймання вантажу п. 4.3.1, механізм підіймання з ручним приводом обладнується вантажоупорним гальмом. Аналогічні вимоги були у всіх попередніх «Правилах будови і безпечної експлуатації вантажопідіймальних кранів», які діяли раніше: від 25 березня 1964р п.93, ДНАОП № 0-1.03-93 п. 4.31, ДНАОП 0.00-1.03-02 п.4.4.1, а також «Правил безпечної роботи з інструментами та пристроями» НПАОП 0.00-1.71-13 п. 6.2.17 та діючих цих правил НПАОП 0.00-1.71-13.
Вантажоупорне гальмо, як правило, встановлюється на первинному валу між рукояткою і ведучою шестірнею з тих міркувань, що тут діє відносно невеликий крутний момент, а саме:
М= РхL=6,16 кг м; де Р =14кГ – фактичне максимальне зусилля на рукоятці, при знаходженні фрамуги у верхньому положенні (замір проведено за допомогою динамометра),
L = 0,44м - довжина плеча рукоятки.
Фактично ж рукоятка була просто приварена до валу ведучої шестерні конічної прямозубої передачі лебідки (див. фото).
Лебідка приводу механізму підйому
брами, де стався нещасний випадок:
1. Ручка рукоятки, від якої постраждав робітник;
2. Місце зварного з’єднання
рукоятки до валу;
3. Стопорний пристрій.
Виникло питання:
1. Хто і коли встановив цю лебідку?
2. Чи було раніше встановлене вантажоупорне гальмо заводом - виробником? Відповідей так і не було знайдено.
По-перше, картоплесортувальний пункт було споруджено 1990 року. За цей час колгосп перейменовувався декілька разів, змінилися відповідальні особи, обслуговуючий персонал, була втрачена документація не тільки на механізм підйому, а й на увесь картоплесортувальний пункт, тому знайти, хто і коли встановив цю лебідку, не вдалося.
По-друге, вантажоупорне гальмо обов’язково повинно бути, якщо цей механізм використовувався для підйому вантажу, але ж його могло і не бути, якщо механізм використовувати тільки для переміщення вантажу у горизонтальній площині, про що зазначається у паспорті лебідки. Крім того, було з’ясовано, що значно зменшилась кількість кваліфікованих інженерно-технічних працівників колгоспу, а ті, що залишились, якщо і знали про встановлення вантажоупорного гальма, то не зовсім уявляли принцип його дії.
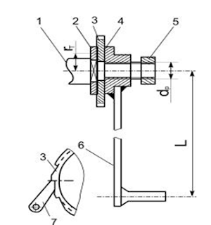
Нижче приводиться улаштування, принцип роботи найбільш поширеного вантажоупорного гальма, яке б мало бути встановлене на первинному валу лебідки механізму підйому фрамуги картоплесортувального пункту (див. рис.).
Вантажоупорне гальмо, яке мало бути встановлене на вхідному валу.
1. вал;
2. фланець упорний;
3. храповик;
4. різьбова втулка;
5. гайка;
6. рукоятка;
7. собачка.
При підійманні вантажу рукоятку 6 повертають по ходу годинникової стрілки. Різьбова втулка 4 з рукояткою закручуючись по різьбі тисне на храповик 3, притискаючи його до упорного фланця 2, який жорстко посаджений на валу 1 ведучої шестірні. Собачка 7 храпового механізму, вісь якої закріплена на корпусі лебідки, не перешкоджає підйому вантажу, вільно ковзаючись по похилим поверхням храповика. Також собачка виключає можливість вантажу самостійно опускатись під дією власної ваги, упираючись у зубці храповика і стопорить всю систему. . Для більш ефективного зчеплення та зменшення габаритів гальма, поверхні тертя деталей 2,3,4, можуть обладнуватись гальмівними накладками.
При опусканні вантажу повертаючи рукоятку 6 проти годинникової стрілки розмикається гальмо, але не зовсім, а до ступені пригальмовування всієї системи, яке не дає валу під дією вантажу обертатись з прискоренням і обгонити нагвинчену на нього рукоятку. Храповик 3 при опусканні вантажу тримається від обертання собачкою. Гайка 5 служить для регулювання величини зазору між втулкою 4 та храповиком 3 для розгальмування механізму при опусканні вантажу, а також запобігає скручуванню рукоятки з валу 1, якщо відсутнє навантаження. Для швидкого розгальмування вантажоупорного механізму використовується двох-, трьохзахідна різьба прямокутного або трапецоїдного профілю. Діаметр різьби вантажоупорного гальма (dp) вибирається з урахуванням крутного моменту М.
Оцінювання сили удару рукоятки, від якої постраждав робітник.
До розрахунку був прийнятий той факт, що коли робітник намагався стопорити рукоятку унизу, фрамуга знаходилась у верхньому положенні, а удар прийшовся у голову робітника у ту мить, коли рукоятка вислизнула з його руки і, під дією ваги фрамуги, зробила півоберта назад.
Імпульс удару: = = 20 кгс,
якщо прийняти:
≈0,1с - час за який опустилась фрамуга під дією власної ваги за півоберта рукоятки,
то величина удару рукоятки буде становити: кг
Крім того, збільшенню руйнівної сили додало те, що удар був майже прямим, а рукоятка мала незначний контакт з головою робітника.
Таким чином, зважуючи на наведене вище, можна стверджувати:
1. Безперечно, якщо б механізм підйому фрамуги картоплесортувального пункту був обладнаний таким вантажоупорним гальмом , травми можна було б уникнути.
2. Перед введенням в експлуатацію обладнання, кожний раз, для наведеного випадку кожного сезону, необхідно перевіряти не тільки його технічний стан, а і відповідність цього обладнання вимогам техніки безпеки, викладених в інструкції з експлуатації, нормативним документам з охорони праці.
3. Відповідальним технічним працівникам, які експлуатують та перевіряють обладнання на предмет відповідності нормативно-правовим актам необхідно мати належний професійний рівень щодо не тільки того, як мають виглядати захисні механізми, а і принцип їх дії. Чітко усвідомлювати, яка загроза здоров’ю, життю людини може виникнути із-за несправності або відсутності захисного механізму, а не згадувати про це тоді, коли трапиться біда.


Немає коментарів:
Дописати коментар